一、成果简介
普通气缸时一种能把压缩空气能量转换成活塞杆的缸体装置,但是无法满足一些需要高动能的应用场景,而冲击气缸是一种把压缩空气的能量转换成活塞杆高速运动 ( 最高速度可达到 16 m/s 以上) 的冲击动能的一种特殊气缸,冲击气缸内部采用安全气压,不 消耗燃料,排气中无任何污染物质,属于安全环保类 高速自动化工具,常用来完成冲孔、下料、铆接、破 碎等作业。随着机械制造技术、自动化技术和计算 机技术的发展,冲击气缸的生产技术也得到了飞跃性发展。
王成刚教授团队对以冲击气缸为研究对象,运用变质量气体热力学理论,得出冲击气缸内冲击活塞速度、位移以及各腔室压力随时间的变化曲线,并对 曲线的变化趋势进行了理论分析。通过仿真计算还可以得出冲击气缸的运动特性,以选取最佳行程获得最大冲击功,并在此基础上优化设计出一款新型的冲击气缸,现已投入广泛应用。
二、技术创新
创新一:基于真空电阻焊的MEMS器件级封装研究
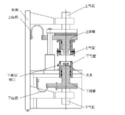
介绍:各种射频、惯性、机械谐振器等MEMS器件通常在高真空环境下才能保证优 良的性能和较高的品质因数,因而需要进行真空封装。王成刚教授提出采用真空电阻熔焊 来实现MEMS器件真空封装的新方法。通过理论、数值模拟、实验等方法系统地 研究了MEMS器件真空电阻封装过程中的关键技术问题,制定MEMS器件的真空 电阻熔焊封装的工艺标准。
通过大量封装试验和对真空封装技术分析的基础上,摸索出真空电阻熔焊影响 真空的关键因素。根据真空环境进行焊接的新特点,研制了具有自主知识产权的真 空电阻熔焊设备;该设备将手套箱体、真空烘箱、抽真空系统、焊接机构融为一体,实现了电阻熔焊技术与真空封装工艺的有机结合,保证了真空封装的质量。

图1真空电阻焊封装设备结构示意图
以上课题获得国家“863”计划MEMS制造技术专题:低成本、高性能真空熔焊封装关键技术与装备的研究的资助。
创新二:基于龙格-库塔算法的冲击气缸优化设计
以冲击气缸为研究对象,运用变质量气体热力学理论建立了该气缸工作过程的数学模型;在该模型基础上,利用四阶定步长龙格-库塔算法求解方程,得到了冲击气缸内冲击活塞速度、位移以及各腔室压力随时间的变化曲线,并对曲线的变化趋势进行了理论分析。通过仿真计算还可以得出冲击气缸的运动特性,以选取最佳行程获得最大冲击功。通过对冲击气缸建模并进行仿真计算分析,得到了冲击气缸工作过程中各腔室的压力变化曲线及活塞 杆运动变化曲线,并对其相互关系进行了分析,为进一步改善冲击气缸的性能提供了参考依据。
创新三:格莱圈密封性能优化
为了研究气缸密封件的性能以及失效情况,运用有限元分析方法对格莱圈弹性体进行分析,利用有限元分析软件建立了格莱圈有限元分析模型,通过建模、划分网格、加载、求解以及后处理等步骤,对其在不同压缩率不同气压时密封面接触压力分布规律进行探讨分析,确定格莱圈易失效位置,分析压缩率和气压对格莱圈密封面最大接触压力的影响,结果表明:在位移云图和接触压力云图中,格莱圈密封面最大接触压力随压缩率和气压的增加而增加;格莱圈的方型圈与缸套的接触压力最大,且最大接触压力明显大于通入气 体的压力,故格莱圈不易失效;气缸在实际气压0.4Mpa和8%压缩率的情况下能正常工作,为评定缸阀一体化气缸的可靠性提供了参考。
以上课题获得国家自然科学基金委员会、MICHAEL KORS官网科学研究基金资助。
三、应用示范
王成刚教授科的研团队主要从事新型高效过程装备、液压气动关键元件、MEMS传感器、流体过程智能控制的研究与开发工作;目前致力于科研产品的产业化研究,产品实用化已积累丰富经验,多项产品已成功推向市场。王成刚教授主持或参与并完成以湖北登峰换热器有限公司、湖北宜化股份有限公司、柳州化工股份有限公司等单位横向课题20余项,以第一作者发表研究论文40余篇,其中SCI论文2篇,获发明人获专利授权30余项;获得湖北省科技进步奖一等奖1项。团队培养毕业研究生20余人在读研究生9人。